Nur für Gewerbetreibende

Wir haben vom 24.12. bis 02.01.2026 geschlossen - Shop-Bestellungen werden ab dem 05.01.2026 wieder bearbeitet.

Abbildung ähnlich
KFV

KFV-Türverschluss AS 3600 hell verz. 65/92/10 F20 B001

KFV009-04 3505377
auf Anfrage
je 1 St
keine Verfügbarkeitsinformationen

Verpackungseinheiten

50 St

Verkaufsdaten

Mindestbestellmenge 1 St
Bestellschritt 1 St

Zubehörempfehlung für Sie:

Beschreibung

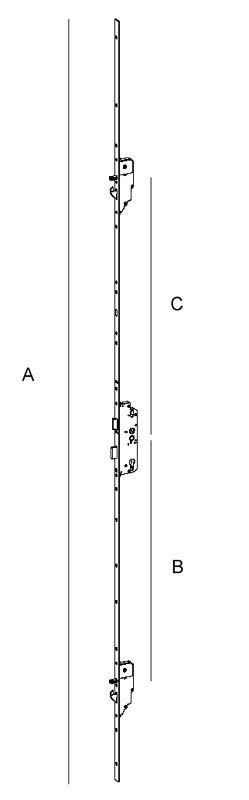
* KFV-Türverschluß AS 3600 hell verz. 65/92/10 F20 B001 für FFH 1881-2170

Maß A= 2170mm; Maß B= 760mm; Maß C= 730mm; Stulp= 20mm

Sortiernummer: 7214204

Merkmale

Dornmaß 65 mm
Stulp 20 mm
Abstand 92 mm
Verriegelungsart Bolzen/Schwenkriegel
Vierkant 10 mm
WhatsApp
Mail
Anrufen