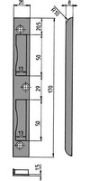
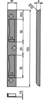
Variante: Z.T. Schließblech Savetime gefälzt; div. Oberflächen, Links/Rechts, 8 x 20 x 170 mm
Marke: KFV
KFV
KFV
Ihr Suchergebnis besteht aus diesen 3 Artikeln (kann ähnliche Treffer enthalten)…
Ihr Suchergebnis besteht aus diesen 3 Artikeln (kann ähnliche Treffer enthalten)…