Nur für Gewerbetreibende

Abbildung ähnlich
Hettich

Hettich Abdeckprofil , Aluminium Optik, 936 mm

4023149378287 4023149378287 9133081
auf Anfrage
je 100 St
keine Verfügbarkeitsinformationen

Verpackungseinheiten

1 St

Verkaufsdaten

Mindestbestellmenge 1 St
Bestellschritt 1 St

Zubehörempfehlung für Sie:

Beschreibung

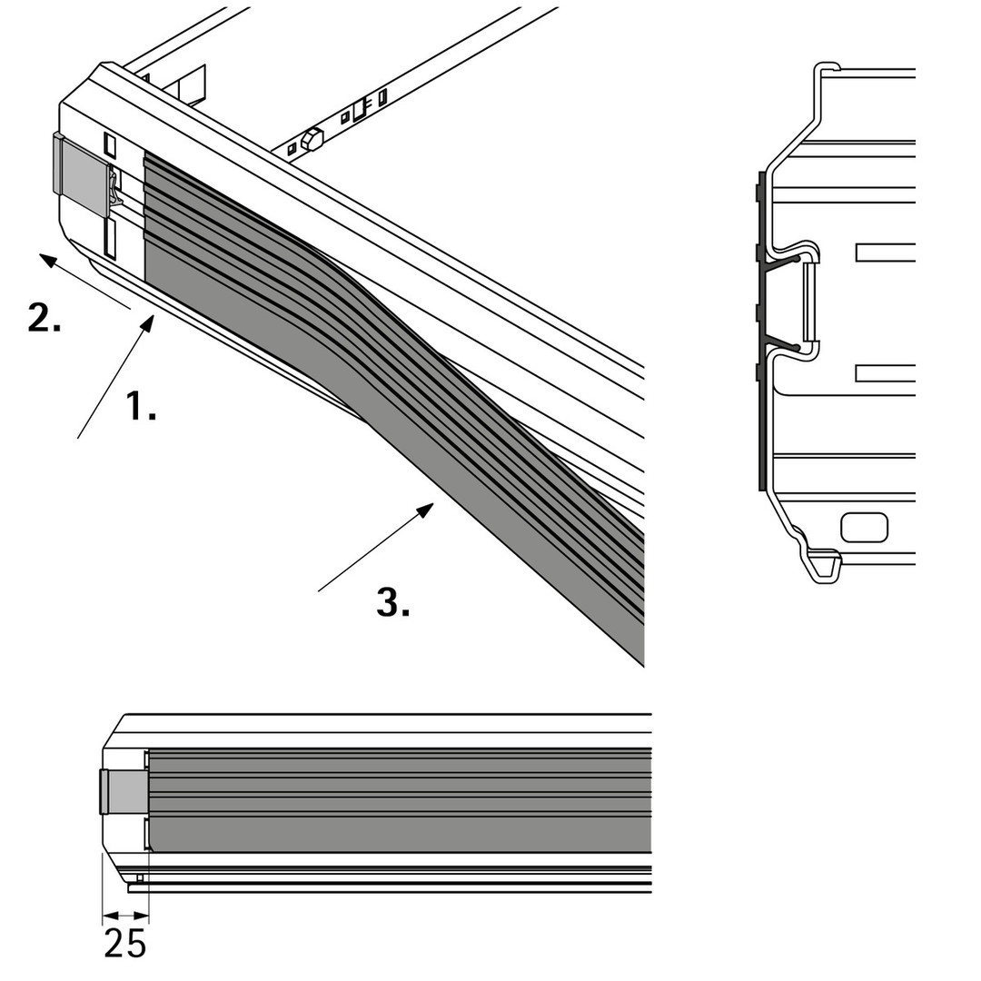
  • Für Einsatz am Hängeregistraturrahmen und Breitwandschub
  • Zur Abdeckung der Befestigungslöcher bei Einsatz hinter Türen
  • Kunststoff

Hinweise:

  • Nicht in Verbindung mit breitenverstellbarem Hängeregistraturrahmen einsetzbar
  • In Verbindung mit Türabweiser Profil je Seite 25mm kürzen

Merkmale

Paketfähig J
Lieferantenart.nr. 9133081
Material Kunststoff
Breite 936 mm
Systemfarbe Aluminium Optik
WhatsApp
Mail
Anrufen